It is a compression joint to connect LV insulated overhead phase conductors. Tested according self supporting system. Test voltage 6 kV / 50 Hz / 1 min in water.
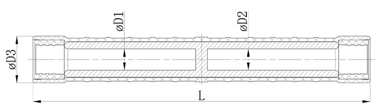
MJPB Specification

|
Code |
Dimensions (mm) |
Color |
Tool |
|||
|
D1 |
D2 |
D3 |
L |
|||
|
MJPB6 |
3.3 |
3.3 |
19 |
70 |
Brown |
E140 |
|
MJPB6/10 |
3.3 |
4.3 |
19 |
70 |
Brown/Green |
E140 |
|
MJPB10 |
4.3 |
4.3 |
19 |
70 |
Green |
E140 |
|
MJPB10/16 |
4.3 |
5.3 |
19 |
70 |
Green/Blue |
E140 |
|
MJPB16 |
5.3 |
5.3 |
19 |
70 |
Blue |
E140 |
|
MJPB16/25 |
5.3 |
6.5 |
19 |
70 |
Blue/Orange |
E140 |
|
MJPB25 |
6.5 |
6.5 |
19 |
70 |
Orange |
E140 |
|
MJPB25/35 |
6.5 |
8 |
19 |
70 |
Orange/Red |
E140 |
MJPT Specification
|
Code |
Dimensions (mm) |
Color |
Tool |
|||
|
D1 |
D2 |
D3 |
L |
|||
|
MJPT16 |
5.3 |
5.3 |
24 |
104 |
Blue |
E140 |
|
MJPT25 |
6.5 |
6.5 |
24 |
104 |
Orange |
E173 |
|
MJPT35 |
8 |
8 |
24 |
104 |
Red |
E173 |
|
MJPT50 |
8.8 |
8.8 |
24 |
104 |
Yellow |
E173 |
|
MJPT54.6 |
10 |
10 |
24 |
104 |
Black |
E173 |
|
MJPT70 |
10.4 |
10.4 |
24 |
104 |
White |
E173 |
|
MJPT95 |
12.3 |
12.3 |
24 |
104 |
Gray |
E173 |
|
MJPT120 |
14.2 |
14.2 |
26.5 |
107.5 |
Pink |
E215 |
|
MJPT150 |
15.5 |
15.5 |
26.5 |
107.5 |
Purple |
E215 |
MJPT N Specification
|
Code |
Dimensions (mm) |
Color |
Tool |
|||
|
D1 |
D2 |
D3 |
L |
|||
|
MJPTN25 |
6.5 |
6.5 |
26.5 |
172 |
Orange |
E173 |
|
MJPTN35 |
8 |
8 |
26.5 |
172 |
Red |
E173 |
|
MJPTN50 |
10 |
10 |
26.5 |
172 |
Yellow |
E173 |
|
MJPTN54.6 |
10.4 |
10.4 |
26.5 |
172 |
Black |
E173 |
|
MJPTN70 |
10.5 |
10.5 |
26.5 |
172 |
White |
E173 |
|
MJPTN95 |
12.3 |
12.3 |
26.5 |
172 |
Gray |
E173 |
|
MJPTN120 |
14.2 |
14.2 |
26.5 |
172 |
Pink |
E215 |
|
MJPTN150 |
15.5 |
15.5 |
26.5 |
172 |
Purple |
E215 |
EN
CN









